Sony gây sốt với bằng sáng chế AI chơi game thay người

Sony gây sốt với bằng sáng chế AI chơi game thay người
3 giờ trướcBài gốc
Một bằng sáng chế do Sony nộp từ hơn một năm trước bất ngờ được cộng đồng mạng đào lại và nhanh chóng gây chú ý.
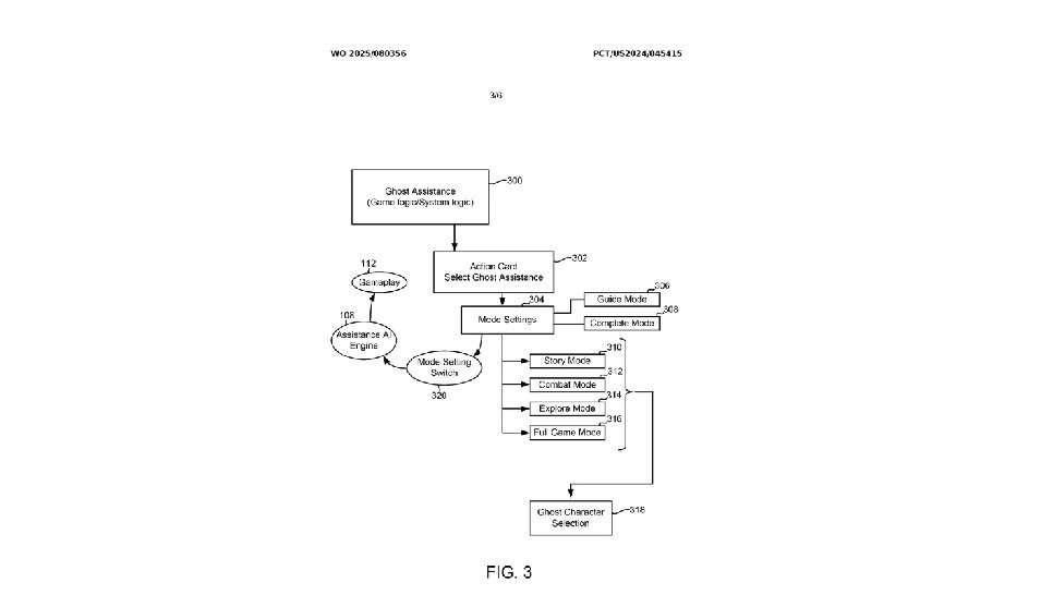
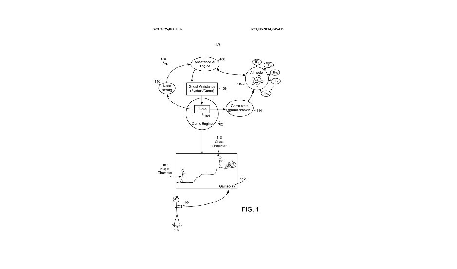
Tài liệu mô tả một “bóng mờ” AI - phiên bản ảo của nhân vật người chơi - xuất hiện trực tiếp trong game để hỗ trợ khi cần thiết.
AI này có thể minh họa thao tác, đưa ra chuỗi nút điều khiển mẫu hoặc hướng dẫn cách vượt qua các câu đố phức tạp.
Trong một số tình huống, “bóng mờ” còn trò chuyện với người chơi và chỉ dẫn từng bước cần thực hiện tiếp theo.
Đáng chú ý hơn, AI thậm chí có thể hoàn thành một phần nội dung game thay cho người chơi nếu được kích hoạt.
Bằng sáng chế cũng đề cập đến nhiều chế độ hỗ trợ khác nhau như Story Mode, Combat Mode hay Full Game Mode.
Ý tưởng này được xem là bước phát triển nâng cao của tính năng Game Help trên PS5, vốn chỉ dừng ở mức gợi ý bằng video và hình ảnh.
Trong bối cảnh AI ngày càng phổ biến trong ngành game, sáng kiến của Sony vừa mở ra tiềm năng mới vừa làm dấy lên tranh cãi về ranh giới giữa hỗ trợ và “chơi hộ”.
Mời quý độc giả xem thêm video: Dọn rác AI | Hà Nội 18h00
Thiên Trang (TH)
Nguồn Tri Thức & Cuộc Sống : https://kienthuc.net.vn/sony-gay-sot-voi-bang-sang-che-ai-choi-game-thay-nguoi-post1598838.html